Mặc dù có thể những ý tưởng dưới đây chưa được hiện thực hóa, chúng cũng đủ để khẳng định sự sáng tạo và tiên phong trong phát triển sản phẩm của Apple.
Hàng năm, Apple tiến hành đăng kí hàng nghìn bản quyền sáng chế. Mặc dù chẳng biết tới khi nào chúng mới trở thành sự thật nhưng những bản quyền này vẫn thể hiện được phần nào cách tiếp cận trong việc phát triển sản phẩm của "táo khuyết" trong tương lai.
Dưới đây là 11 trong số những sáng chế thú vị nhất mà Apple đăng kí trong vài năm trở lại đây.

Tai nghe vừa dùng được theo kiểu có dây vừa dùng được theo kiểu không dây nhờ bộ phận kết nối bằng nam châm. (Bằng sáng chế 9277309, đăng kí năm 2011)

Hệ thống cho bạn bè của bạn biết không phải bạn gõ sai, chỉ là tính năng "autocorrect" đã tự động sửa đúng thành... sai mà thôi! (Bằng sáng chế 20160117299, đăng kí năm 2015)

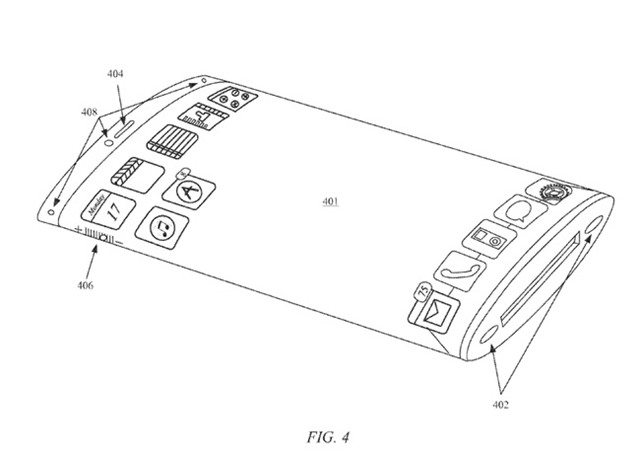
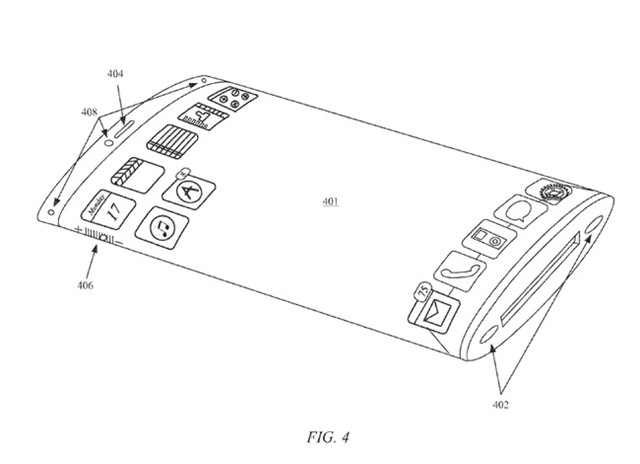
Điện thoại màn hình cong và bao trọn cạnh máy. (Bằng sáng chế 9367093, đăng kí năm 2014)

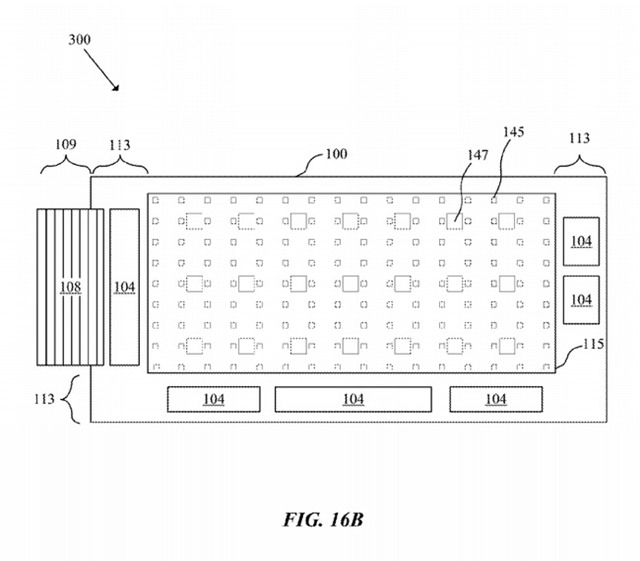
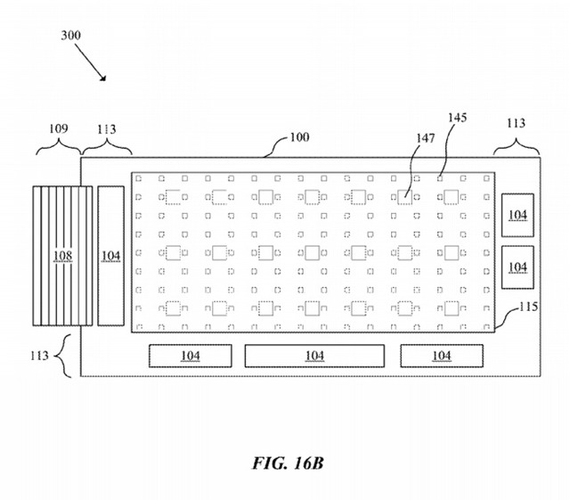
Ý tưởng kiểu bàn phím mới cho laptop, trong đó các phím không hề chuyển động mà thay vào đó có thể cảm nhận được lực nhấn từ tay người dùng. (Bằng sáng chế 20160098107, đăng kí năm 2015)

Hệ thống có thể xác định chuyển động đầu của người dùng để nâng cao chất lượng âm thanh phát ra từ tai nghe. (Bằng sáng chế 9363596, đăng kí năm 2013)

Tấm nền màn hình Micro-LED có thể được sử dụng trong các sản phẩm "vòng đeo tay hay đồng hồ thông minh màn hình cong. (Bằng sáng chế 20160163765, đăng kí năm 2014)

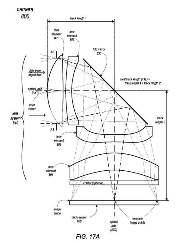
Ống kính "khủng" có thể gấp mở dành cho các thiết bị di động. (Bằng sáng chế 9316810, đăng kí năm 2014)

Cách thức chuyển kênh hoặc tìm kiếm chương trình trên TV bằng giọng nói. (Bằng sáng chế 9338493, đăng kí năm 2014)

Cục sạc thông minh có thể cắm chồng lên nhau để tiết kiệm ổ điện. (Bằng sáng chế 9300083, đăng kí năm 2014)

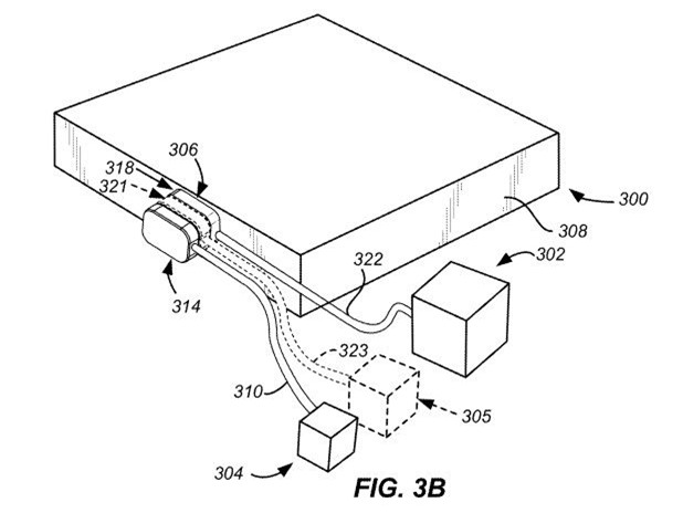
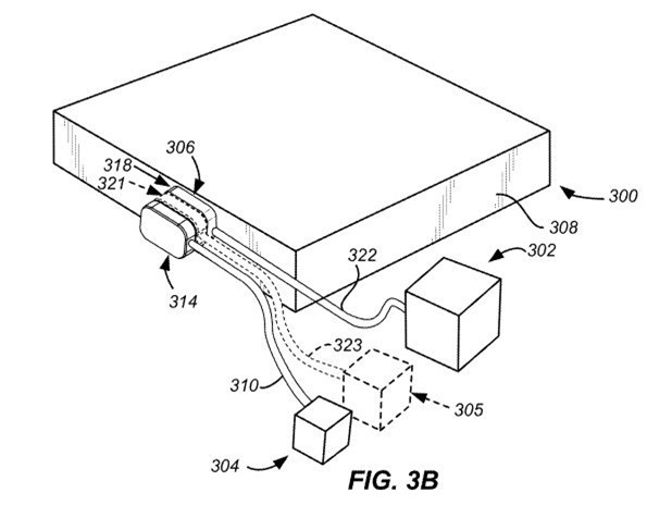
Jack cắm và đầu kết nối tai nghe kiểu mới giúp tiết kiệm không gian trên các thiết bị di động. (Bằng sáng chế 9142908, đăng kí năm 2014)

Tính năng bảo vệ màn hình chạy bằng mô-tơ tự động kích hoạt khi người dùng vô tình làm rơi máy. (Bằng sáng chế 20150301565, đăng kí năm 2014)
Theo Trí thức trẻ