Tiết lộ mới đây về nghiên cứu của Apple cho thấy rằng các dòng iPhone sau này sẽ được cải thiện camera sau để vượt trội hơn các đối thủ của mình trong việc chụp ảnh.

Apple ngoài việc ứng dụng camera kép phía sau thân máy để cho bức ảnh chụp sống động, chân thực hơn nay đã tiếp tục cải tiến hệ thống chụp ảnh của mình. Và nghiên cứu mới đây đã cho thấy một ưu điểm mới của các dòng iPhone thế hệ sau này dự kiến sẽ mang lại, đó là khả năng cho phép đèn flash của camera có thể tập trung vào một phần nhất định trong khung hình.
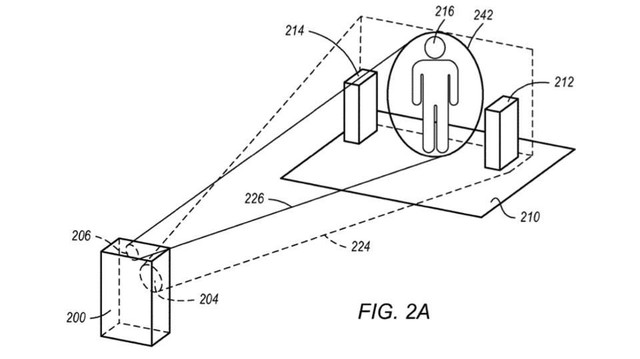
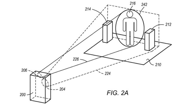
Cụ thể thì trong đăng ký bản quyền nghiên cứu (số 9.992.396) của Apple, được công bố ngày hôm nay bởi Cục sở hữu trí tuệ và bản quyền sáng chế của Mỹ thì Apple đang đăng ký nghiên cứu một loại camera kép phía sau tích hợp thêm bộ phận tập trung ánh sáng. Bộ phận mới này cho phép hướng ánh đèn flash của máy điện thoại vào một vật thể nhất định giúp cho bức ảnh có thêm hiệu ứng ánh sáng tốt hơn thay vì nháy đèn flash chung cho cả khung hình.
Mô tả về đăng ký bản quyền nghiên cứu này của Apple cho biết:
"Một bộ phận phát ra ánh sáng có khả năng điều chỉnh, kiểm soát chùm sáng phát ra từ đèn flash, tập trung vào vật thể được xác định bởi hệ thống camera kép, làm nổi bật hình ảnh lên trong khung hình tổng thể được ghi lại bởi camera."

Hình ảnh về phát minh mới của Apple - Collimator Flash
Tuy rằng đây được coi là một cải tiến khá thú vị dành cho hệ thống camera kép phía sau của iPhone nhưng hiện tại vẫn chưa có một thông tin xác nhận gì về việc phát minh mới này sẽ được ứng dụng cho dòng iPhone nào trong tương lai. Nhiều tín đồ công nghệ dự đoán rằng khi ra mắt, tính năng focus đèn flash này sẽ được đặt chế độ tự động trong hệ thống chụp ảnh sẵn có của iPhone.
Theo Trí Thức Trẻ
