Theo báo cáo, vào đầu tháng 5, một người phụ nữ đã phát hiện đầu lưỡi của cô con gái 2 tháng tuổi đột nhiên chảy máu. Sau khi đến Bệnh viện nhân dân thành phố Thanh Viễn, Quảng Đông, máu vẫn chảy liên tiếp 2, 3 ngày. Bác sĩ Đới Nhữ Quân, phó Khoa Nhi sau khi kiểm tra tỉ mỉ phát hiện các vi mạch trong não có xuất huyết, đồng thời bác sĩ còn phát hiện chức năng đông máu ở đứa trẻ cũng có vấn đề.

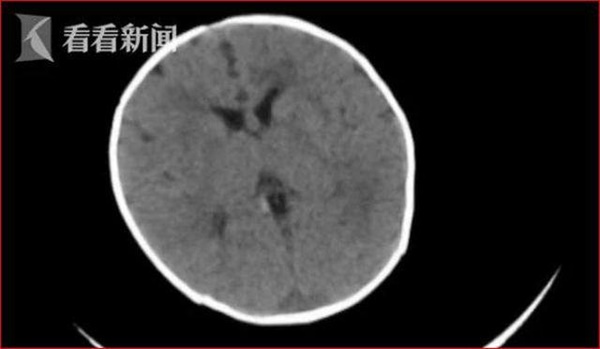
Bác sĩ đã chụp cắt lớp vi tính bộ não của đứa trẻ, phát hiện thấy có một số vi mạch trong não bị xuất huyết.
Trong quá trình chẩn đoán và điều trị cho đứa trẻ 2 tháng tuổi, bệnh viện cũng tiếp nhận một trường hợp tương tự. Sau khi tìm hiểu bác sĩ mới biết, theo phong tục địa phương, phụ nữ sau khi sinh trong thời gian ở cữ không được ăn rau xanh. Những người già cho rằng, trời lạnh và ăn rau xanh trong thời gian ở cữ không những không giúp phụ nữ phục hồi cơ thể, mà còn gây tiêu chảy ở trẻ sơ sinh. Vì vậy những bà mẹ này không ăn rau trong thời gian ở cữ. Hành động này dẫn đến việc thiếu vitamin K ở trẻ sơ sinh, gây ra tình trạng đông máu bất thường.
Tuy nhiên, bác sĩ Đại cho biết thêm, không phải tất cả các bà mẹ không ăn rau xanh trong thời gian ở cữ đều gây ra xuất huyết não cho con mình, điều này còn phụ thuộc vào sự nhạy cảm của đứa trẻ. Thói quen này cũng cần phải loại bỏ và các bà mẹ nên thay đổi chế độ ăn của mình.
Vai trò của vitamin K đối với trẻ
Vitamin K đóng vai trò quan trọng trong quá trình đông máu, ngăn ngừa hiện tượng chảy máu quá mức. Vitamin K không được bổ sung thông dụng như các vitamin khác mà hầu hết được cung cấp đầy đủ thông qua chế độ ăn. Thực tế, vitamin K chứa nhiều trong các loại rau có lá xanh, như: rau chân vịt, măng tây, bông cải xanh; các loại đậu và một số rau củ khác. Ngoài ra, vitamin K còn có trong các loại thịt, phomat, trứng, và được tổng hợp bởi vi khuẩn.

Trẻ thiếu vitamin K sẽ bị chảy máu không kiểm soát.
Trẻ em nếu thiếu vitamin K có thể làm tăng nguy cơ chảy máu không kiểm soát. Vì vậy, trẻ sơ sinh cần được tiêm một mũi vitamin K ngay khi chào đời, nếu không sẽ dễ bị bầm da xuất huyết ở mũi, miệng, gốc rốn; đặc biệt là trong não, có thể gây tử vong.
Vitamin K đóng vai trò đặc biệt trong quá trình đông cầm máu, ngăn ngừa chảy máu ở trẻ. Đông máu, hay còn gọi là tình trạng máu vón cục và cân bằng với quá trình chống đông, hiện tượng này vô cùng quan trọng, giúp duy trì trạng thái ổn định của việc lưu thông máu bên trong cơ thể trẻ. Thiếu vitamin K hoặc thiếu các yếu tố đông máu phụ thuộc vitamin K có thể do một số bệnh lý tại gan trong thời kỳ còn trong bào thai, hoặc do chức năng gan của bé chưa được hoàn thiện đều dẫn đến hiện tượng xuất huyết ở trẻ nhỏ dưới 6 tháng tuổi.
Phòng tránh thiếu hụt vitamin K cho trẻ
Để phòng tránh thiếu hụt vitamin K, trong thời gian mang thai, bà mẹ nên được ăn uống đầy đủ thịt, cá, tôm, cua, ốc, ếch và rau xanh, hoa quả các loại cùng với chế độ nghỉ ngơi làm việc nhẹ nhàng, phù hợp.

Ngoài ra, trẻ sơ sinh có thể dự phòng vitamin K bằng đường uống 3 lần hoặc đường tiêm bắp 1 lần ngay sau sinh. Trẻ sơ sinh khuyến cáo tiêm bắp 100%. Đối với trẻ nặng trên 1,5kg, liều lượng là 1mg vitamin K, còn trẻ nặng dưới hoặc bằng 1,5kg, liều lượng bổ sung là 0,5mg vitamin K tiêm bắp.
Bố mẹ không nên tự ý mua vitamin K bổ sung cho trẻ bởi bố mẹ không biết liều lượng như thế nào. Cách tốt nhất, bố mẹ nên tuân theo chỉ định của y tế và dùng thuốc có chỉ định của y tế.
Theo thoidaiplus.giadinh.net.vn
