Chủ đề

xuất huyết não

xuất huyết não

4 tín hiệu cho thấy mạch máu" đặc như cháo", chần chừ không đi khám sẽ đối mặt với nguy cơ đột quỵ và xuất huyết não nghiêm trọng

Mỡ máu gây ra hàng loạt biến chứng nghiêm trọng cho sức khỏe, vì vậy việc nhận biết sớm những dấu hiệu của mạch máu đang có vấn đề, bạn sẽ tránh được những rủi ro sức khỏe không mong muốn.

Chàng trai 26 tuổi chết vì xuất huyết não sau khi nhổ răng khôn, cảnh báo những lưu ý khi nhổ răng khôn

Theo các cuộc khảo sát, khoảng 54% trong số những người có độ tuổi từ 16-25 có răng khôn, trong đó khoảng 44% bị ảnh hưởng bởi phiền toái do răng khôn đem lại.

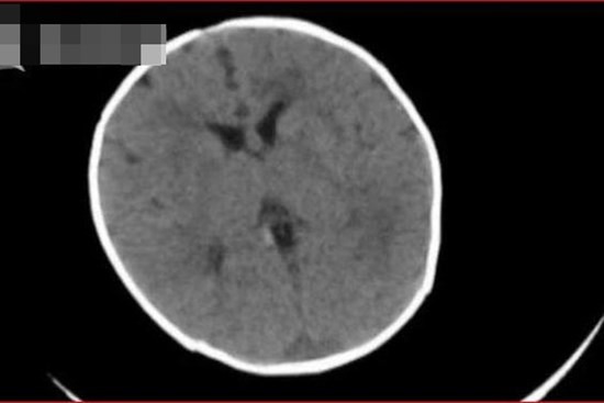
Cậu bé 16 tuổi bị xuất huyết não đột ngột, thói quen xấu trong cuộc sống chính là "thủ phạm"

Mọi người thường thấy xuất huyết não chỉ xảy ra ở người trung niên và cao tuổi, tuy nhiên, trong những năm gần đây, rất nhiều người trẻ tuôi bị bệnh xuất huyết não, trường hợp cậu bé 16 tuổi bị xuất huyết não là một minh chứng.

Giận chồng ra công viên "nhảy nhót", người phụ nữ ngất xỉu nhập viện trong tình trạng xuất huyết não nặng rồi tử vong

Chỉ vì một điệu nhảy giải tỏa bực bội trong lúc cãi nhau với chồng mà cô Trần đã trả giá bằng cả tính mạng của mình.

Người phụ nữ 50 tuổi bị vỡ mạch máu não, nhập viện cấp cứu chỉ vì gắng sức hát karaoke quá cao

Khi cố gắng hát karaoke các nốt cao, cô Lưu đã sử dụng quá nhiều lực khiến động mạch não bị vỡ ngay tức khắc.

Bé 2 tháng tuổi bị xuất huyết não, mẹ sững sờ khi biết do thói quen ăn uống của mình

Thấy con gái 2 tháng tuổi bị chảy máu không ngừng ở đầu lưỡi, người mẹ vội vàng đưa con đến viện phát hiện con bị xuất huyết não. Nguyên nhân chính là thói quen ăn uống của người mẹ.

Nữ sinh 16 tuổi bị xuất huyết não do sử dụng thuốc tránh thai để điều trị rối loạn kinh nguyệt, bác sĩ nhắc nhở cần đi khám ngay nếu dùng thuốc mà thấy biểu hiện này

4 tiếng trước khi vào bệnh viện, nữ sinh có biểu hiện yếu người, tê liệt nửa bên trái cơ thể, không thể đi đứng, khó phát âm.

Gia tăng đột biến chỉ trong 2 tuần cấp cứu hơn 10 trường hợp xuất huyết não nặng

Đột quỵ do xuất huyết não rất nguy hiểm gây nguy cơ tàn phế và tỷ lệ tử vong cao. Thời gian gần đây, Bệnh viện Đa khoa tỉnh Quảng Ninh tiếp nhận số lượng bệnh nhân tai biến mạch máu não tăng đột biến.

Bé trai 4 tháng tuổi nghi bị bố đánh đến xuất huyết não, gãy chân

Vụ việc đã được chính quyền địa phương chuyển hồ sơ sang Công an quận 9 thụ lý điều tra.

Những dấu hiệu xuất huyết não nhưng nhiều người ngỡ là chứng đau đầu thông thường: Chủ quan chậm trễ đến viện khiến nguy cơ biến chứng cao, thậm chí có thể mất mạng

Xuất huyết não thường diễn ra âm thầm, đến khi phát bệnh thì lại rất nghiêm trọng bởi dấu hiệu của nó không khác gì đau đầu thông thường.

Bí ẩn "chiếc gương sát nhân" khiến 38 người sau khi nhìn vào liền đột tử vì xuất huyết não

Trong hơn 200 năm, chiếc gương đã khiến cho gần 40 người đột tử vì chứng xuất huyết não không rõ nguyên nhân. ​

Vụ bé gái 8 tháng tuổi nghi xuất huyết não ngay ngày đầu đi nhà trẻ: Giám định bé bị thương tật đến 84%

Theo kết luận giám định của Công an huyện Đức Hòa (tỉnh Long An) bé Đ.T.T.N (8 tháng tuổi) có tỷ lệ tổn thương do thương tích gây nên thời điểm giám định là 84%

Mẹ của bé gái 8 tháng tuổi nghi bị xuất huyết não ngay ngày đầu tiên gửi nhà trẻ: Cô giáo nói bé tự bị còn camera thì hỏng?

Sau khi sự việc xảy ra, gia đình chị có đề nghị xem lại camera để biết nguyên nhân thì nhà trẻ lại báo đã bị hư camera từ trước.

Cậu học sinh 15 tuổi bị xuất huyết não chỉ vì thói quen nhiều người mắc phải

Gần đây, một học sinh ở Hồ Nam (Trung Quốc) phải nhập viện, bác sĩ chẩn đoán vỡ u máu dạng hang gây xuất huyết, ảnh hưởng nguy hiểm đến tính mạng.

Cô gái bị xuất huyết não vì hát karaoke quá to và lời cảnh báo của bác sĩ

Sau khi hát một bài, Tiểu Tuyết bắt đầu xuất hiện các triệu chứng buồn nôn, chóng mặt.

Đắng cay người mẹ đột ngột tử vong sau sinh con 14 ngày chưa kịp đặt tên

Kể từ khi mẹ qua đời, bé Long chưa một ngày được no bụng và có giấc ngủ ngon, đêm nào cháu cũng khóc ngất vì nhớ hơi ấm của mẹ.

Sau nửa năm điều trị chứng xuất huyết não, bệnh tình của diễn viên Thúy Anh giờ ra sao?

Diễn viên Thúy Anh chia sẻ tin vui về tình trạng sức khỏe hiện tại trên trang cá nhân.

Người đàn ông tử vong sau uống rượu, bác sĩ chỉ điểm 4 điều cấm kỵ

Nhập viện trong tình trạng say rượu và xuất huyết não, mặc dù được cấp cứu tích cực, nhưng người đàn ông đã không qua khỏi.

Dù còn trẻ nhưng chớ chủ quan: Bạn cũng có thể bị xuất huyết não như diễn viên Thúy Anh!

GS.TS Nguyễn Lân Việt cho biết, tăng huyết áp là nguyên nhân hàng đầu dẫn đến xuất huyết não ở giới trẻ nhưng không phải ai cũng nắm rõ.